Porcelain Line Post Insulator are mounted to a supporting structure such as wooden/steel pole or tower through an additional base, used on overhead distribution and transmission from 10kV up to 138kV. Rich power is a manufacturer of porcelain insulator with reasonable price and good quality. As a professional manufacturer,we offer ANSI type, BS type, AS type and customer’s design type porcelain insulators.

Manufactured and test in accordance with IEC 60383 ANSI C29.1 C29.2
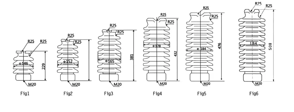
Types:
1- Horizontal Clamp-top type with Stud Base:
Porcelain Line Post Insulators of ANSI
- 57-1,57-2,57-3,57-4,57-5,57-6,
- 57-11,57-12,57-13,57-14,57-15,57-16
- 57-21, 57-22, 57-23, 57-24, 57-25, 57-26
2- Horizontal Clamp-top type with Curved Base:
Porcelain Line Post Insulators of ANSI
- 57-31, 57-32, 57-33, 57-34, 57-35, 57-36

Line Post Insulator Applications:
Line Post Insulators are used on overhead transmission lines. These insulators are commonly installed either vertically or horizontally on metal or wooden structures to support the conductor. Also, these insulators are used to support high voltage conductor jumpers or leads.
Line Post Insulator Features:
- Secure and reliable operation on high mechanical strength.
- Compact design and light in weight which is convenient for transportation.
- Good anti-vibration capability. Good anti-moisture capability.
- Good electric performances.
- High anti-aging performances which is perfect for utilization under conditions of high altitude.
- Rich power company offers OEM production of all types of porcelain insulators.

Specifications and Types:













